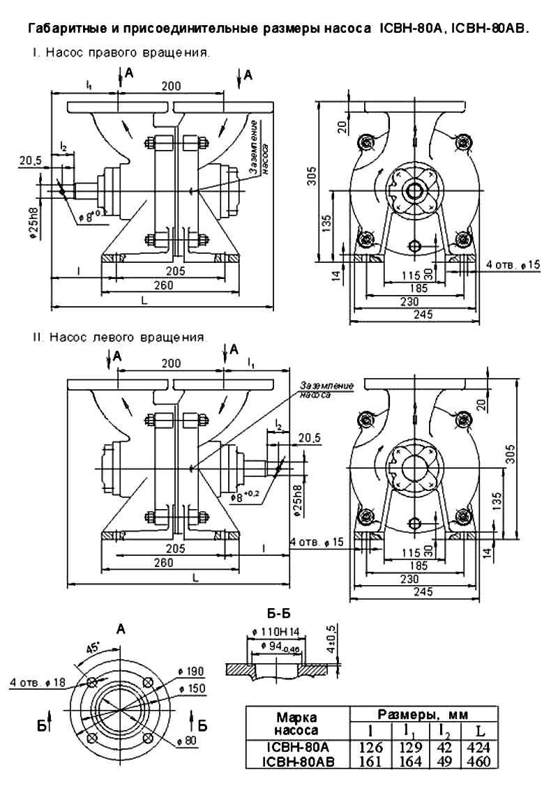
Насос СВН-80 (ВСН-80, ДД-80) предназначен для перекачивания чистых, без механических включений, жидкостей: воды, бензина, керосина, дизельного топлива, спирта и других нейтральных жидкостей вязкостью не более 2*10-6м2/с, в которых стоек алюминий АЛ-4. Температура перекачиваемой жидкости в насосе СВН-80 от -40°С до +50°С и плотностью не более 1000 кг/м3 . уплотнение вала одинарное торцевое. Избыточное давление на входе в насос СВН-80 до 1 кгс/см2.
| Подача, м3 /час | 35 |
| Напор, м | 26 |
| Частота вращения номинальная , об/мин | 1450 |
| Масса, кг | 17,6 |
самовсасывающий производительностью 30 м3/час
выпускается в 2-х исполнениях: левый и правый (левый обычно установлен на насосных электроагрегатах, правый - на бензовозах)
